4天前,也就是4月23日,四部委联合发布了《关于调整完善新能源汽车补贴政策的通知》,也就是2020年的新能源车补贴政策。
政策一出,有人欢喜有人忧。
按照政策规定,新能源车的补贴会延长到2022年,从2020年开始,逐年退坡10%、20%、30%。
除此之外,新能源乘用车补贴前售价须在30万元以下(含30万元),但是因为要鼓励换电,支持换电的车型不受这个规定限制。
而正因为目前市面上补贴前售价超过30万,但支持换电技术的车企只有蔚来一家,这也就意味着,某种程度上,蔚来不会像其他售价30万以上的新能源车型,受到补贴变动的影响。
至于政策的支持对蔚来的帮助多有效,其实看销量就能看出来。
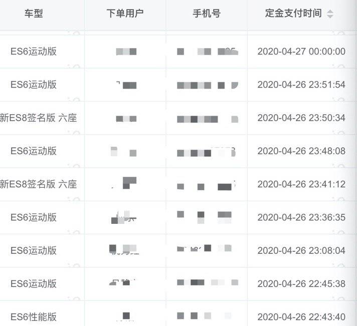
虎嗅昨晚得到了一份独家数据,从4月23日到4月26日四天,蔚来拿到了接近2000份大定,按照蔚来现在的购买规则,大定是20000元,交了大定意味着就是确定买车意向了,且蔚来的销售在这几天依然在抓紧接单。如果你对4天内接到接近2000份大定这个数字没什么概念,有个数据对比,整个3月份,蔚来其实也就交付了1533辆车。当然,1533辆对于受到疫情影响的3月份来说,已经是个相当不错的数字了。


在得到爆料之后,我们也向蔚来进行了求证,蔚来并未直接否定,给出的回复是:关于交付数,请以每月企业公告为准。
显然,新能源车消费者对于补贴的变化还是相当敏感的,即使是购买预算在30万元以上的高端新能源车潜在消费者,两万多的纯电动车补贴,有或者没有,依然会对购买行为产生非常直接的影响。
新能源补贴政策支持蔚来选择的换电模式,很容易被人误读成“不公平”,或者是“蔚来得到了一些直接的保护”,但实际上,细琢磨下换电模式为什么被支持,其实是可以很容易得到一些合理答案的。
本质上,新能源车可以拿到政策补贴,其实就是一种鼓励新能源车行业发展的保护,但被保护的对象,应该被精挑细选,于是就有了各种限制政策。
新能源最初补贴阶段最直接了当的“骗补”车型早就被淘汰,而现阶段新能源补贴政策的调整,实际上是在做这样一个逻辑筛选:
淘汰掉纯电里程不高的“油改电”产品。
2.抛开高价新能源车型,把更多的补贴让给价格相对比较容易让人接受的新能源车型。
政策背后其实有这样一个逻辑,新能源补贴,本质上是希望用补贴带动新能源车消费,让消费者养成使用新能源车习惯,最好下一辆车也能换新能源车。
这也就意味着,享受新能源车补贴的车型,首先得是续航过关,满足消费者使用需求的,不能是为了便宜点儿买车就天天用车糟心的。另一方面得是这个车满意程度高,用车周期长,政府掏的这部分补贴,对车主“有用”的时间能尽可能长一些。
那这也就不难理解为什么政策会选择放弃30万以上的新能源车型,因为购买30万以上售价新能源车型的消费者,更多是“改善型”或者是“尝鲜型”需求,而更低售价的车型,更多的是“刚需”,一辆车的使用周期也会更长一些。
但蔚来的换电模式,其实是用一种技术和制度上的优势,增加了一辆车的使用周期,继续给蔚来补贴,对于政策来讲,“性价比”是相当高的。
近几年随着电池技术的不断成熟,纯电动车续航里程随着电池能量密度的提升越来越长,这其实对于大量早期入手纯电动车的车主来说,虽然早先占到了补贴的便宜,但是到两三年后发现,自己纯电动车续航不够用,除了换车,也只能吃哑巴亏。
但蔚来的换电模式一方面是满足了车主日常突发需求的快速补能,临时的长途需求也可以通过租用更大容量的电池来应急,另一方面也是给现有车主吃了个定心丸:如果你现在日常续航里程已经够了,就不用琢磨再换车了,临时需求租次电池就行,并不糟心。
当蔚来更新新款车型,用上更大电池容量的电池,老车主也不会觉得自己被品牌抛弃了,因为兼容性更强的换电架构随时都可以让老车主换上新电池,获得更长的续航。

而老车主满意后,也会影响身边新的潜在车主,缓解潜在车主固有印象中对于电池的焦虑感,放心购车。
别说租更大的电池还要花钱,有地方花钱升级,总比成为老款车主,只能干着急要强。
另一方面,虽然产品的生命周期,尤其是可变的续航能力会成为潜在车主选择蔚来很重要的一个因素,更重要的,是蔚来的潜在车主相信这样的模式可以持续跑下去,也就是之前质疑蔚来服务模式最多的:这家公司能不能一直撑下去。
而当我们得知在补贴政策公布4天内就新增将近2000多订单,很难不去考虑另外一个因素,就是新政的引导和之前蔚来与合肥的战略合作,让潜在车主有了更强的信心,去相信蔚来,并且成为蔚来车主。
无论是换电模式的灵活性,还是政策以及地方政府的支持,这一切周边因素强势影响销量之外,最根本的,还是作为国内造车新势力中最早开始交付的品牌,蔚来到现在,车主口碑依然是相当正面的。蔚来车主对这家公司还是很满意的。
当然,新政公布后井喷式的订单增长,对蔚来来说,也只能算是一个得到认可的阶段性证明,做好车主规模快速扩大后的配套服务跟进速度,继续维护好车主的信任,是蔚来把造车事业继续做大的关键。
【来源:虎嗅网】
酷居科技