苹果汽车又有两项新专利曝光,一项是关于车载显示器,一项是关于汽车天窗。
4月28日,美国专利和商标局授予苹果一项“显示器的外观集成”的专利,该专利提议改变汽车中显示器的显示方式。

苹果的“显示器的外观集成”的专利
一般来说,汽车内的显示屏通常用于导航系统和媒体播放,目前的显示屏往往位于车内显眼的位置,但苹果提出可以将其隐藏起来。
据科技网站cnTechPost 4月29日报道,在这项专利的核心内容中,苹果提出将显示屏与一个覆盖层搭配,将其作为汽车整体设计的一部分隐藏起来。
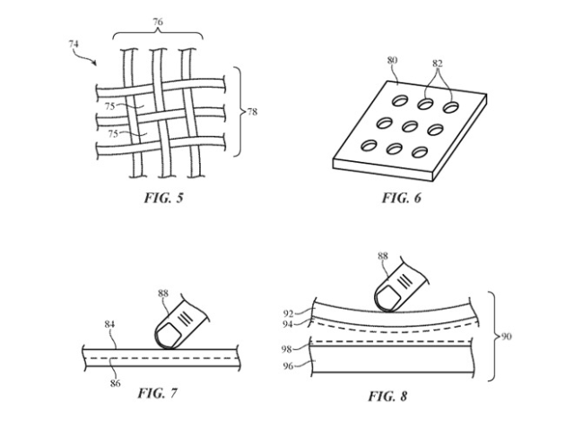
覆盖层可以包括一些组件,如能够进行输入的受力和触摸传感器,以及电子百叶窗灯。覆盖层本身可以进行涂层处理,使其看起来像是由皮革、织物、木材、塑料、金属、复合纤维等其他物质制成。这种想法也可以应用于各种汽车内饰的设计。
最关键的是,这层覆盖可以使用极薄的外覆盖材料,或者通过穿孔的方式让显示器的光线能够穿过覆盖层进行显示。

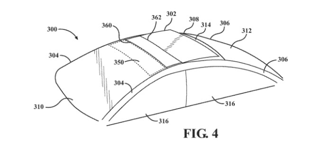
可应用于汽车天窗的“可拆卸面板组件”苹果专利。
当天曝光的第二项苹果专利名为“可拆卸面板组件”,它应用于汽车的天窗。苹果提供了一些可以改善整体设计的调整方案。
专利中,天窗有一个可以控制的可变化半透明区域,面板能够根据移动情况在不同的透明状态之间切换,如打开时变得更加透明,关闭时变得不透明。
密封结构也可以用于滑动的面板上,使天窗在关闭时能更牢固地固定在车顶上,也能帮助防止雨滴落入车内。
【来源:澎湃新闻】
酷居科技